Ideato nel lontano agosto del 2014, ma reso pubblico solo il 4 aprile 2016, è appena apparso un nuovissimo, e stranissimo, patent di Nintendo per un device olografico in grado di riconoscere gli oggetti del mondo reale ma sopratutto di proiettare delle immagini su una qualsiasi superficie.
Il suo inventore è Fumihiko Inoue, già al lavoro sul circuit design di 3DS, e detentore di tre patent insieme a Nintendo. Il nuovo device dovrebbe essere in grado di riconoscere, da qualsiasi posizione, un oggetto e di permettere al giocatore di manipolarne la proiezione: l’oggetto potrebbe essere sfruttato attivamente nel gameplay dei titolo o semplicemente come user interface “olografica”.
Il linguaggio del patent è decisamente complesso e tecnico, ma come alcuni utenti di NeoGAF fanno notare, in definitiva si tratterebbe di:
- Uno strumento che può proiettare le immagini senza l’ausilio di uno schermo tradizionale, su un tavolo, un muro, o una unità specializzata attaccata all’unità, oppure sfruttando altri schermi tradizionali come quelli dei telefoni.
- Uno strumento che supporta interfacce in realtà aumentata proiettata in supporto ai controlli tradizionali
- Un device in grado di scannerizzare altri oggetti (come ad esempio gli amiibo) senza entrare in contatto con loro

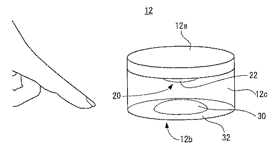
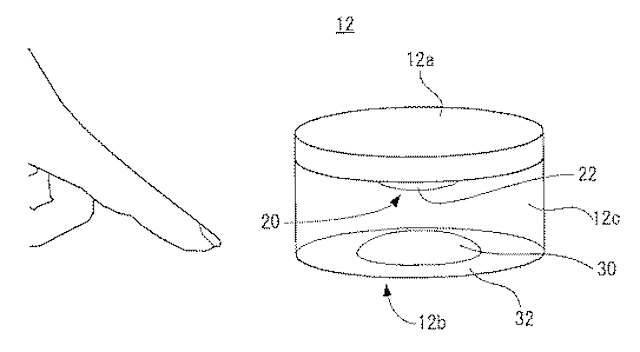
Nell’immagine si possono vedere:
- 12a – la camera unit
- 12b – la parte a specchio del device
- 12c – parti di fissaggio della camera
- 20 – camera
- 30 – superficie curva a specchio
- 32 – parti di fissaggio per la superficie curva